欢迎各位兄弟 发布技术文章
这里的技术是共享的
是表 node_counter 中的 totalcount 字段
SELECT *
FROM `node_counter`
ORDER BY `node_counter`.`totalcount` DESC
LIMIT 0 , 30
文章浏览量统计,这两个模块都要装
statistics 模块
statistics_counter 模块
1) admin/config/system/statistics

2) admin/people/permissions 权限页面

3) 列表页面和节点页面 可以看到 浏览次数的效果


4)/admin/reports/pages 热门文章

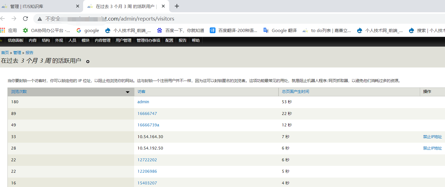
5)/admin/reports/visitors 活跃用户 活跃访客

6)/admin/reports/hits 最近浏览

7) /user/27/track/navigation 追踪有户浏览的页面

8) /node/846/track 追踪节点访问页面
